.com
Shopping Basket
empty
Your Account
Log in
Register
Home
Contact
About
Guestbook
Shipping Costs
Terms and Privacy
SPAREPARTS
Search by Part Number
Diagrams & Parts Lists
Gardening & Forestry
Industry & Shop
Chainsaw Chains
Guide Bars
Sprocket Rims
CATALOG
Mowing, trimming
Engine parts
Workshop
Components
Forestry
Electrical items
Winter items
V-belts / Pulleys
Filters
Toys
Agricultural Parts
Topseller
SERVICE
We search for You
Determine Chain
DE
EN
FR
ES
IT
Mobile
Toro 74140 (724-Z) - 724-Z Tractor, 1995 (590001-599999) PISTON AND ROD Spareparts
Start
Toro Neu
Mowers, Zero-Turn
74140 (724-Z) - Toro 724-Z Tractor, 1995 (590001-599999)
PISTON AND ROD
PISTON AND ROD 74140 (724-Z) - Toro 724-Z Tractor, 1995 (590001-599999)
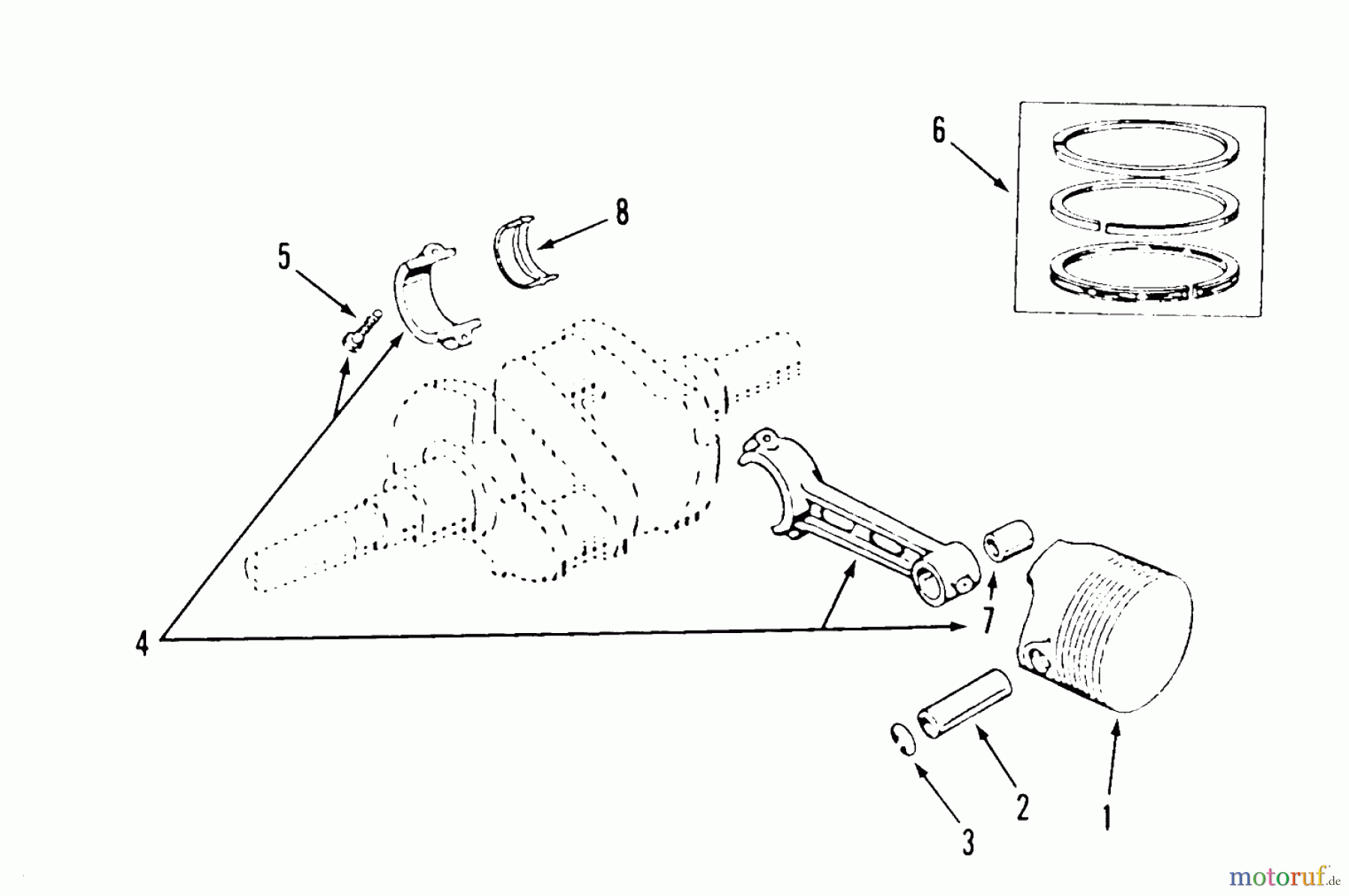
Pos
Article Number
Description
1
TR
TR92-9804
STD PISTON ASM
TR92-0934
PISTON (.005)
TR92-0935
Kolben 0.10
TR92-0936
PISTON (.020)
TR92-0937
PISTON (.030)
2
TR92-0938
KOLBENBOLZEN
3
TR92-0933
DISCONTINUED
4
TR82-0470
ROD-CONNECTING
5
TR82-1470
BOLT-PLACE
6
TR92-0939
PISTON RING KIT
TR92-0940
Kolbenringe
TR
7
TR82-0410
Pleulbuechse
8
TR
TR82-0420
Pleuellagerschale
TR82-0430
BEARING
TR82-0440
BEARING
TR82-0450
PLEUELLAGERSCHALE 0.20
TR82-0460
PLEUELLAGERSCHALE 0.30
Report Error
Help us to improve this site. Notify us if something is wrong here.