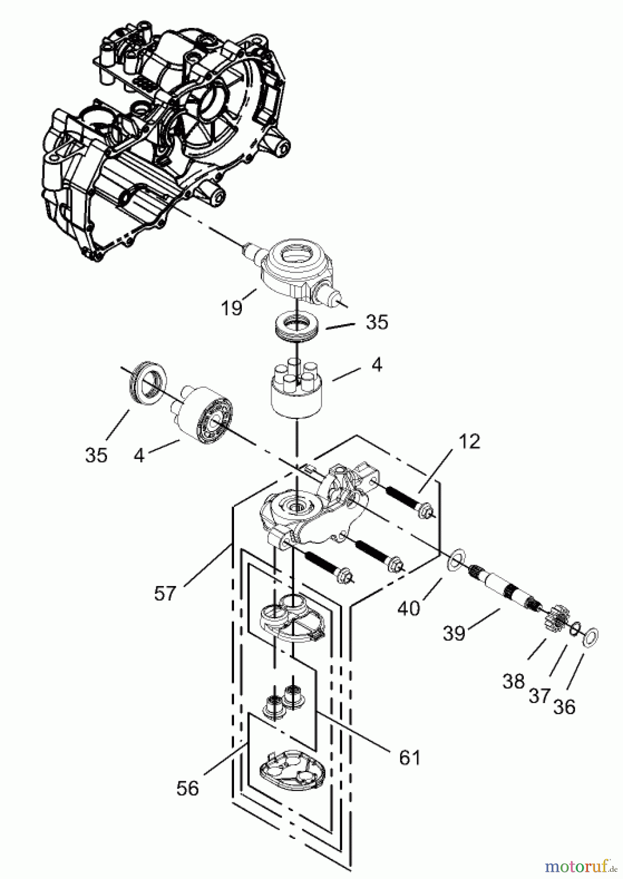
Toro 74301 (14-38Z) - 14-38Z TimeCutter Z Riding Mower, 2003 (230000001-230999999) CYLINDER BLOCK ASSEMBLY LH HYDROSTAT NO. 105-3492 Spareparts
CYLINDER BLOCK ASSEMBLY LH HYDROSTAT NO. 105-3492 74301 (14-38Z) - Toro 14-38Z TimeCutter Z Riding Mower, 2003 (230000001-230999999)



Report Error
Help us to improve this site. Notify us if something is wrong here.

