.com
Shopping Basket
empty
Your Account
Log in
Register
Home
Contact
About
Guestbook
Shipping Costs
Terms and Privacy
SPAREPARTS
Search by Part Number
Diagrams & Parts Lists
Gardening & Forestry
Industry & Shop
Chainsaw Chains
Guide Bars
Sprocket Rims
CATALOG
Mowing, trimming
Engine parts
Workshop
Components
Forestry
Electrical items
Winter items
V-belts / Pulleys
Filters
Toys
Agricultural Parts
Topseller
SERVICE
We search for You
Determine Chain
DE
EN
FR
ES
IT
Mobile
Toro 74360 (Z4200) - TimeCutter Z4200 Riding Mower, 2007 (270000001-270999999) CONTROL ASSEMBLY Spareparts
Start
Toro Neu
Mowers, Zero-Turn
74360 (Z4200) - Toro TimeCutter Z4200 Riding Mower, 2007 (270000001-27
CONTROL ASSEMBLY
CONTROL ASSEMBLY 74360 (Z4200) - Toro TimeCutter Z4200 Riding Mower, 2007 (270000001-270999999)
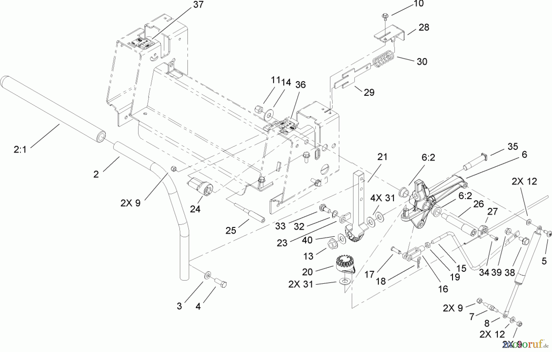
Pos
Article Number
Description
1:1
TR108-6187
GRIP
1
TR117-5339
RH CONTROL HANDLE ASM
2
TR110-6815
LH HANDLE ASM
2:1
TR108-6187
GRIP
3
TR3256-24
WASHER-FLAT
4
TR323-6
Schraube
5
TR112-4004
SCREW-SHOULDER
6
TR110-6828
ACTIVATOR ARM ASM
6:2
TR105-3455
BUSHING
7
TR110-6810
STUD-DAMPER
8
TR103-2913
Stossdaempfer
9
TR3296-42
Mutter
10
TR46-8560
SCREW-HHFTF
11
TR3296-48
Stopmutter
12
TR3256-22
Scheibe
13
TR32128-23
Mutter
14
TR3256-5
Scheibe
15
TR110-6693
LINK-HYDRO
16
TR1-303105
YOKE-ADJUSTABLE
17
TR1-808280
PIN-CLEVIS
18
TR1-806003
HAARNADELSICHERUNG
19
TR3220-2
Mutter
20
TR110-6845
GEAR-CONTROL
21
TR110-6783-05
ARM-ACTUATOR, LH
22
TR110-6782-05
ARM-ACTUATOR, RH
23
TR110-6856
TAB-STOP
24
TR110-6873
ECCENTRIC
25
TR110-6874
SCREW-ECCENTRIC
26
TR110-6875
BOLT-SHOULDER
27
TR110-6858
CABLE-BRAKE, PARKING
28
TR110-6751
BRACKET-RETURN
29
TR110-6750
PLATE-RETURN
30
TR110-6752
SPRING-COMPRESSION
31
TR110-6894
WASHER-PIVOT
32
TR3290-221
WASHER-SPRING
33
TR94-7582
BOLT-SHOULDER
34
TR110-0863
SCREW-Sternantrieb
35
TR1-106784
DISCONTINUED
36
TR112-9750
DECAL-CONTROL LEVER, LH
37
TR112-9751
DECAL-CONTROL LEVER, RH
38
TR37-8771
Schraube
39
TR3296-58
Mutter
40
TR112-9771
WASHER-TEFLON
Report Error
Help us to improve this site. Notify us if something is wrong here.