Toro 74363 (Z4200) - TimeCutter Z4220 Riding Mower, 2009 (290000505-290999999) FUEL SYSTEM ASSEMBLY KOHLER SV610-0211 Spareparts
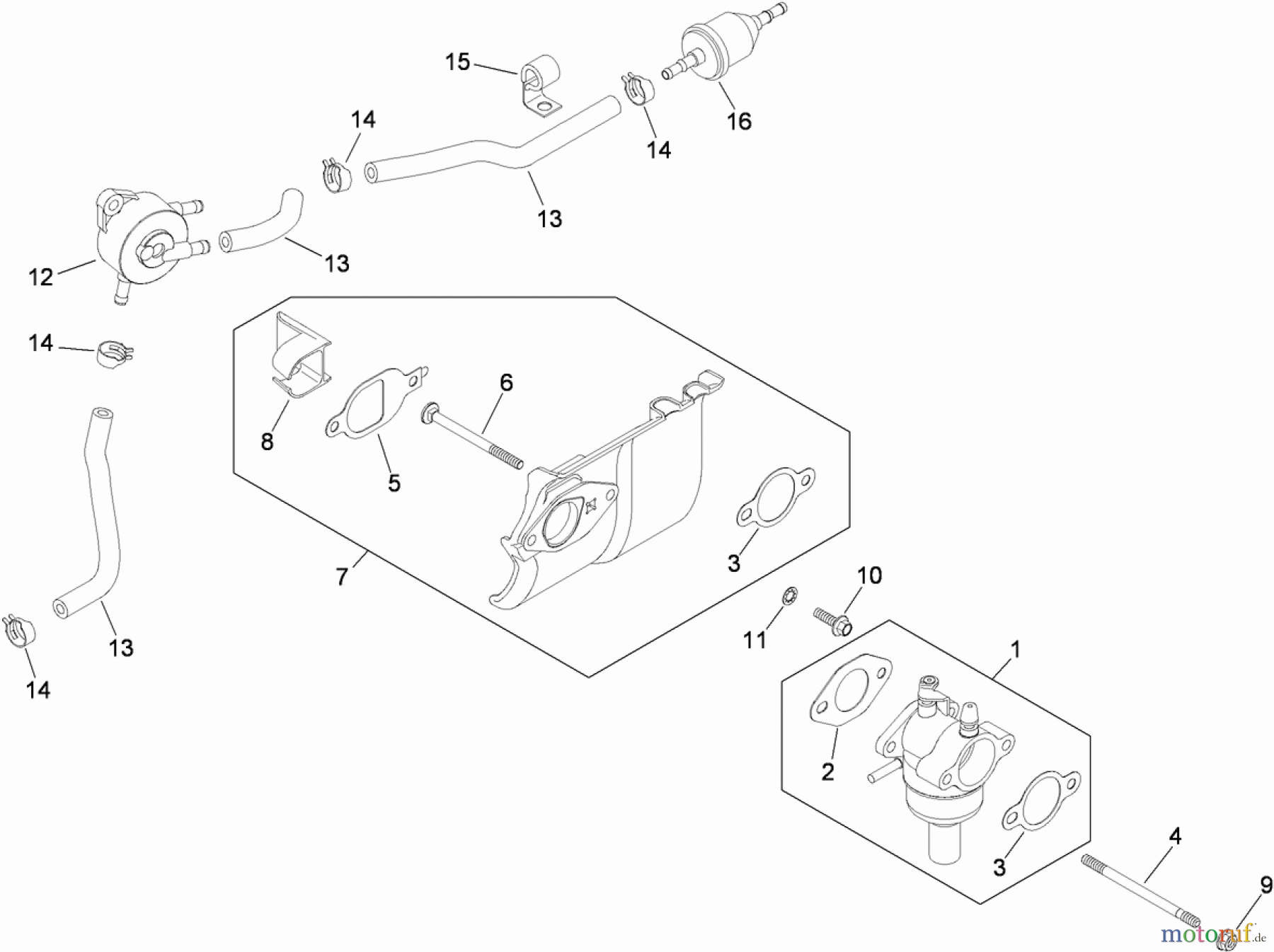
FUEL SYSTEM ASSEMBLY KOHLER SV610-0211 74363 (Z4200) - Toro TimeCutter Z4220 Riding Mower, 2009 (290000505-290999999)



Report Error
Help us to improve this site. Notify us if something is wrong here.

