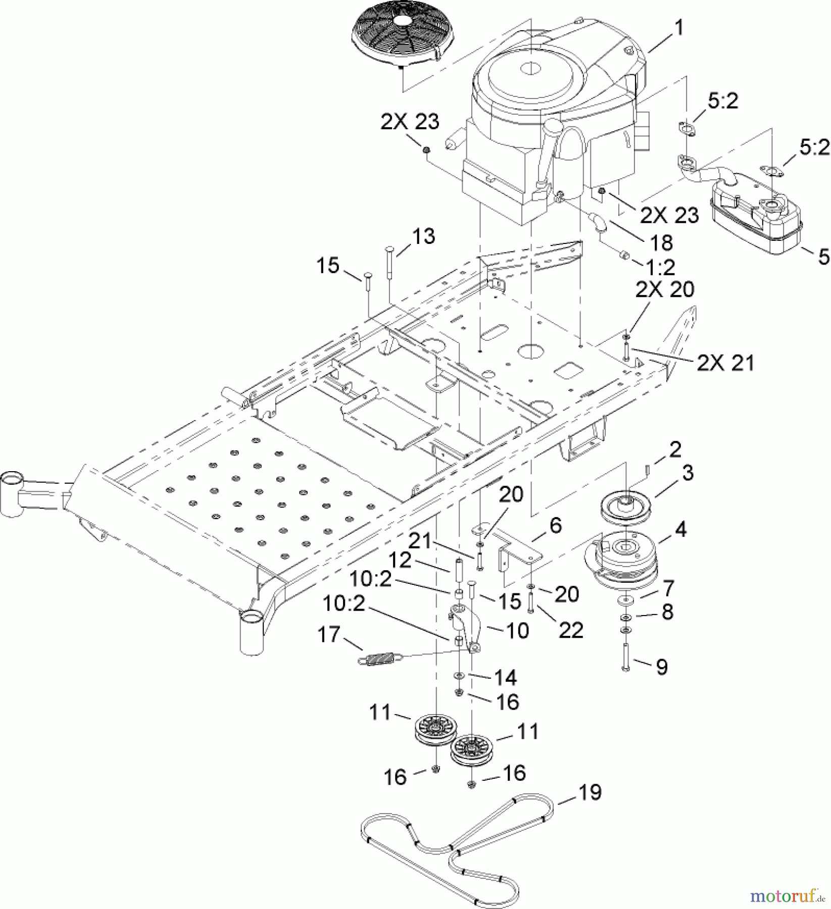
Toro 74814 (Z5200) - TITAN Z5200 Zero-Turn-Radius Riding Mower, 2007 (270000001-270999999) ENGINE ASSEMBLY Spareparts
ENGINE ASSEMBLY 74814 (Z5200) - Toro TITAN Z5200 Zero-Turn-Radius Riding Mower, 2007 (270000001-270999999)



Report Error
Help us to improve this site. Notify us if something is wrong here.


