.com
Shopping Basket
empty
Your Account
Log in
Register
Home
Contact
About
Guestbook
Shipping Costs
Terms and Privacy
SPAREPARTS
Search by Part Number
Diagrams & Parts Lists
Gardening & Forestry
Industry & Shop
Chainsaw Chains
Guide Bars
Sprocket Rims
CATALOG
Mowing, trimming
Engine parts
Workshop
Components
Forestry
Electrical items
Winter items
V-belts / Pulleys
Filters
Toys
Agricultural Parts
Topseller
SERVICE
We search for You
Determine Chain
DE
EN
FR
ES
IT
Mobile
Dolmar Benzin 2-Takt MS-331 C (USA) 16-1 C - Schaftrohr, Handgriff Spareparts
Start
Dolmar
Motorsensen & Trimmer
Benzin
2-Takt
MS-331 C (USA)
16-1 C - Schaftrohr, Handgriff
16-1 C - Schaftrohr, Handgriff MS-331 C (USA)
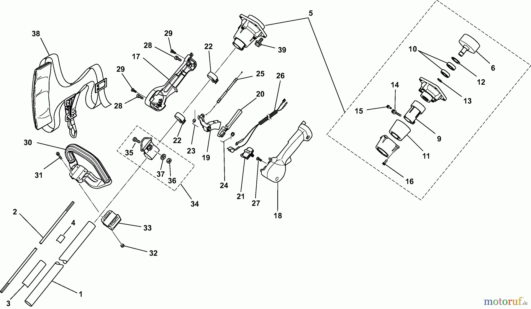
Pos
Article Number
Description
1
351501091
SCHAFTROHR
2
351501042
ANTRIEBSWELLE
3
352501093
SICHERHEITSAUFKLEBER
4
351501090
SCHILD HANDLE ->
5
351505090
KUPPLUNGSGEHäUSE KPL.
6
351505051
KUPPLUNGSTROMMEL
9
351505054
KLEMMBUCHSE
10
351505013
KUGELLAGER
11
351505048
GUMMIDäMPFER
12
351505015
SICHERUNGSRING
13
351505016
SICHERUNGSRING
14
351505017
SCHRAUBE
15
351505018
SCHRAUBE
16
351505047
6KT-SCHRAUBE
17
351506021
GRIFFHÄLFTE RECHTS
18
352506023
GRIFFHÄLFTE LINKS
19
351506025
GASHEBEL
20
351506026
SICHERUNGSHEBEL
21
352506027
KURZSCHLUßSCHALTER
22
351506028
SCHELLE
23
351506019
DREHFEDER
24
351506011
DREHFEDER
25
352506011
BOWDENZUG
26
351506113
KABEL KPL.
27
351506116
SCHNEIDSCHRAUBE
28
351505018
SCHRAUBE
29
352506015
SCHRAUBE
30
351507061
HANDGRIFF
31
351507014
SCHRAUBE
32
351504016
MUTTER
33
351507306
KLEMMSCHALE FüR HANDGRIFF
34
351508050
GURTAUFNAHME KPL.
35
351508012
SCHRAUBE
36
351508013
MUTTER
37
351508014
SCHEIBE
38
351509010
SCHULTERGURT
39
351504020
SCHRAUBE
Report Error
Help us to improve this site. Notify us if something is wrong here.