.com
Shopping Basket
empty
Your Account
Log in
Register
Home
Contact
About
Guestbook
Shipping Costs
Terms and Privacy
SPAREPARTS
Search by Part Number
Diagrams & Parts Lists
Gardening & Forestry
Industry & Shop
Chainsaw Chains
Guide Bars
Sprocket Rims
CATALOG
Mowing, trimming
Engine parts
Workshop
Components
Forestry
Electrical items
Winter items
V-belts / Pulleys
Filters
Toys
Agricultural Parts
Topseller
SERVICE
We search for You
Determine Chain
DE
EN
FR
ES
IT
Mobile
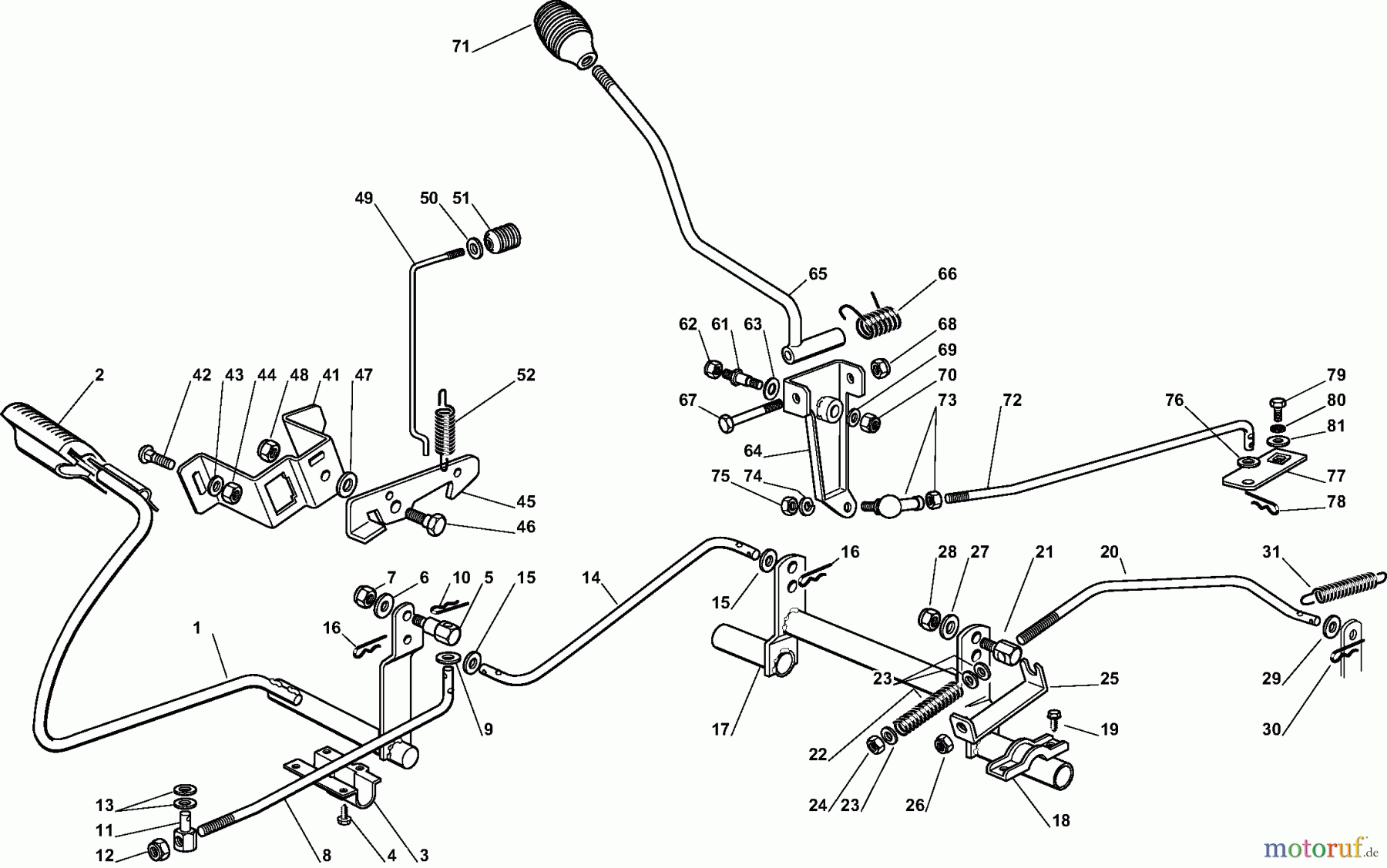
Dolmar TM-102.16 TM-102.16 (2011) 4m GETRIEBE UND BREMSE ANTRIEB Spareparts
Start
Dolmar
Rasentraktoren
TM-102.16
TM-102.16 (2011)
4m GETRIEBE UND BREMSE ANTRIEB
4m GETRIEBE UND BREMSE ANTRIEB TM-102.16 (2011)
Pos
Article Number
Description
1
664500015
PEDAL
2
664110269
PEDALGUMMI
3
664547081
PLATTE
4
664731601
SCHRAUBE
5
664510063
BOLZEN
6
664523060
SCHEIBE
7
664155000
MUTTER
8
664033039
STANGE
9
664521350
SCHEIBE
10
664487997
SPLINT
11
664510064
BOLZEN
12
664155000
MUTTER
13
664670011
SCHEIBE
14
664033038
STANGE
15
664521350
SCHEIBE
16
664487997
SPLINT
17
664000549
ACHSE
18
664546015
PLATTE
19
664731350
SCHRAUBE
20
664033040
STANGE
21
664510062
BOLZEN
22
664430236
FEDER
23
664521360
SCHEIBE
24
664295200
MUTTER
25
664774275
KLAMMER FEDERDÄMPFER
26
664156602
MUTTER
27
664523060
SCHEIBE
28
664155000
MUTTER
29
664521360
SCHEIBE
30
664487997
SPLINT
31
664450500
FEDER
41
664785143
HALTER
42
664815210
SCHRAUBE
43
664523040
SCHEIBE
44
664154510
MUTTER
45
664253001
HAKEN
46
664524970
BOLZEN
47
664670011
SCHEIBE
48
664155000
MUTTER
49
664033034
STANGE
50
664523020
SCHEIBE
51
664394509
GRIFF
52
664430213
FEDER
61
664510035
BOLZEN
62
664155010
MUTTER
63
664672151
SCHEIBE
64
664774206
HALTER
65
664318179
HEBEL
66
664430226
FEDER
67
664692050
SCHRAUBE M8X85
68
664155000
MUTTER
69
664523060
SCHEIBE
70
664155010
MUTTER
71
664394510
GRIFF
72
664033037
STANGE
73
664746601
GELENK
74
664583500
FEDERRING
75
664293200
MUTTER
76
664521340
SCHEIBE
77
664318169
HEBEL
78
664487997
SPLINT
79
664735520
SCHRAUBE
80
664540040
SCHEIBE
81
664680009
SCHEIBE
Report Error
Help us to improve this site. Notify us if something is wrong here.