Powertec Garden Achtung: Auf dem Typenschild muss GÜDE als Hersteller angegeben sein! FSL05167-01 Spareparts
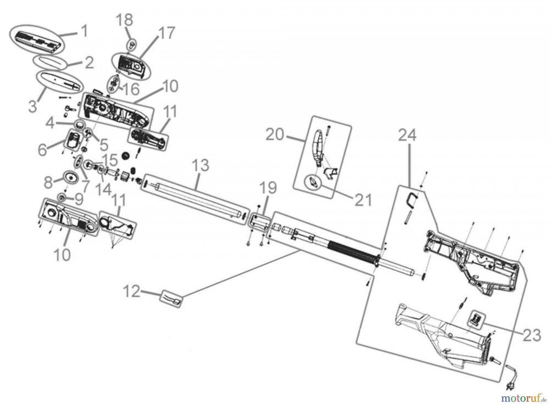
FSL05167-01 ASTKETTENSÄGE GAK 710 TELE - 05167
Gültig für folgende Seriennummern (ersten 5 Ziffern der Geräteseriennummer)
52636 52637 52638

Powertec Garden Achtung: Auf dem Typenschild muss GÜDE als Hersteller angegeben sein! FSL05167-01 Spareparts

Number: 95157-01026
Search for: 95157-01026
Manufacturer: Güde
Powertec Garden Achtung: Auf dem Typenschild muss GÜDE als Hersteller angegeben sein! FSL05167-01
Search for: 95157-01026
Manufacturer: Güde
Powertec Garden Achtung: Auf dem Typenschild muss GÜDE als Hersteller angegeben sein! FSL05167-01
12.43 €
for EU Including VAT, plus shipping





