Güde Benzin Anbauwerkzeug KEHRMASCHINE GKM 900 2 IN 1 - 95189 FSL95189-01 Spareparts
FSL95189-01 KEHRMASCHINE GKM 900 2 IN 1 - 95189
Valid for the following serial numbers (first 5 digits of the device serial number)
58126 58684 59204 59983 60516 60390

| Pos | Article Number | Description | |
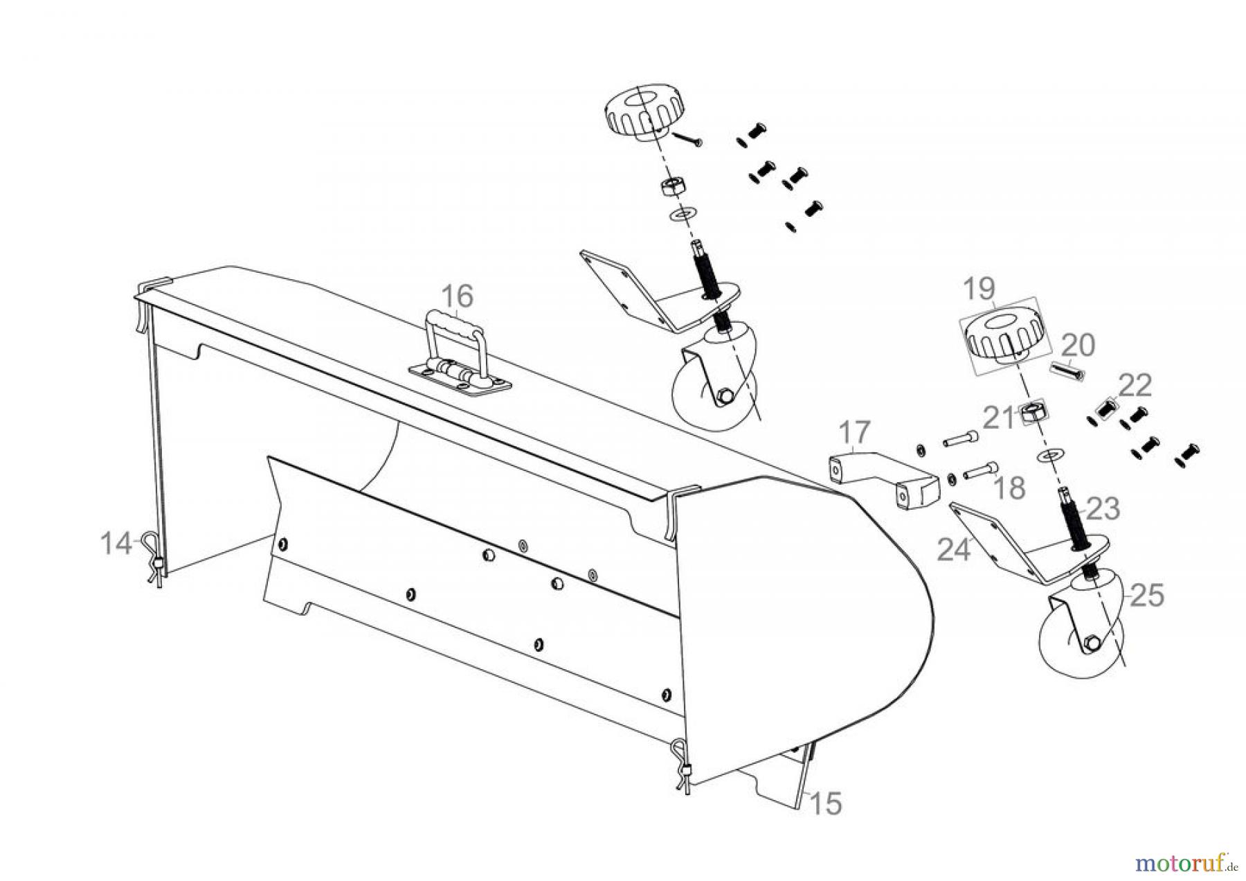
| 14 | 95189-01014 | STIFT | |
| 15 | 95189-01015 | LIPPE AUFFANGBEHÄLTER | |
| 16 | 95189-01016 | GRIFF BEWEGLICH | |
| 17 | 95189-01017 | GRIFF FEST | |
| 18 | 95189-01018 | SCHRAUBE GRIFF FEST | |
| 19 | 95189-01019 | MUTTER HÖHENVERSTELLUNG | |
| 20 | 95189-01020 | SPLINT | |
| 21 | 95189-01021 | MUTTER RAD | |
| 22 | 95189-01022 | SCHRAUBE RADAUFNAHME | |
| 23 | 95189-01023 | HÖHENVERSTELLUNG | |
| 24 | 95189-01024 | RADAUFNAHME | |
| 25 | 95189-01025 | RAD | |
| Abb. | 95189-01026 | SCHRAUBENSATZ LIPPE AUFFANGBEH. | |


Report Error
Help us to improve this site. Notify us if something is wrong here.

