.com
Shopping Basket
empty
Your Account
Log in
Register
Home
Contact
About
Guestbook
Shipping Costs
Terms and Privacy
SPAREPARTS
Search by Part Number
Diagrams & Parts Lists
Gardening & Forestry
Industry & Shop
Chainsaw Chains
Guide Bars
Sprocket Rims
CATALOG
Mowing, trimming
Engine parts
Workshop
Components
Forestry
Electrical items
Winter items
V-belts / Pulleys
Filters
Toys
Agricultural Parts
Topseller
SERVICE
We search for You
Determine Chain
DE
EN
FR
ES
IT
Mobile
Cub Cadet HDS 3200 14A-652-603 (2002) Hydraulic steering Spareparts
Start
Cub Cadet
Garden tractors
HDS 3200
14A-652-603 (2002)
Hydraulic steering
Hydraulic steering 14A-652-603 (2002)
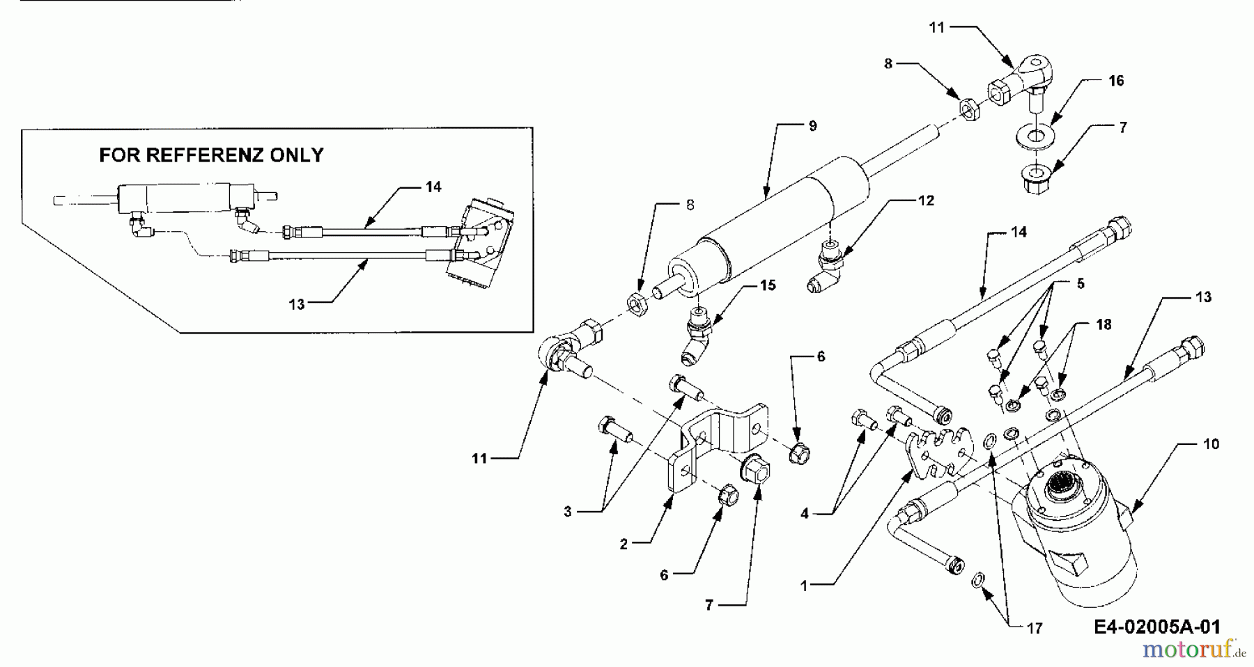
Pos
Article Number
Description
1
703-3015
DISK:REINFORCEMENT
2
703-3189
BRACKET-CYLINDER MCUB YELLOW
3
710-0514
HHCS:3/8-16:1.00:GR5:STD
4
710-3138
HHCS:M8-1.25:16MM:GR8.8:STD
5
710-3140
SCREW HHCS:M6-1.00:14MM DIN933
6
712-0431
NUT:FLGLK:3/8-16:GRF:TOP LK
7
712-3103
NUT-FLANGED LOCK
8
712-3104
NUT-FLANGED LOCK
9
717-3424
CYLINDER-STEERING
10
717-3442
PUMP-HYDRAULIC STEERING
11
723-0462
JOINT-RH THREAD BALL
12
727-3012
FITTING,90 DEGREE ELBOW
13
727-3126
HOSE-FRONT STEERING
14
727-3127
HOSE-REAR STEERING
15
727-3159
FITTING-45 DEGREE
16
736-3084
WASH:THRST:.510 X 1.120 X .060
17
721-0493
RING-"O"
18
736-0329
WASHER:LOCK:1/4:REGULAR DUTY
Report Error
Help us to improve this site. Notify us if something is wrong here.