back to
>
Roth / TORO
>
Hand operated
>
Snowthrower
>
Single stage
>
CR 1000
>
603/38195
>
1000001
>
Handle Assy.
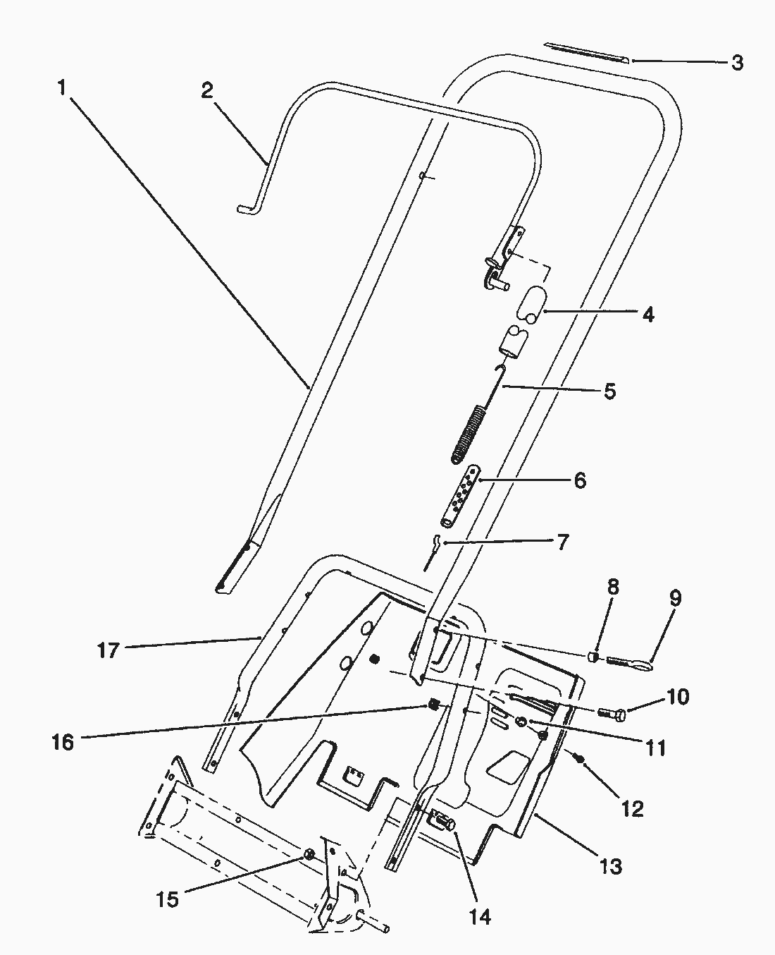
Spare Parts Lists for Toro Roth / TORO Handle Assy.
pos.
decription
spare part number
1
Handle-Upper
71-5090
2
Bail Assembly
71-5120
3
Decal-Rotor Drive
66-6870
4
Cover-Spring
71-5530
5
Spring-Extension
71-5480
6
Adjuster-Cable
71-5330
7
Cable-Clutch
71-5400
8
Spacer
55-9370
9
Bolt-Eye
3299-1
10
Screw-Slotted Hex Hd.
32105-11
11
Nut-Push
3290-486
12
Screw-Slotted Flange Hd.
32144-53
13
Shroud-Lower (Model 38190 Only)
71-5040
14
Capscrew
322-3
15
MUTTER
3296-29
16
Nut-Retained
3290-225
17
Handle-Lower
71-5370
Lists
Toro
Roth / TORO
Ride-On Mowers
Hand operated
Sweeper
Snowthrower
Attachements
Two stage
Single stage
Snow Commander
CCR 3650 GTS
CCR 3000
CCR 2450
CCR 2400
CCR 2000
CR 1000
603/38196
603/38195
69000001
59000001
49000001
39000001
2000001
1000001
Engine Tecumseh Model No. HSK600 TYPE 1660-N
Recoil Starter No. 590537
Carburetor No. 632552
Handle Assy.
Starter Engine Assy.
Engine Assy.
Rotor Assy.
Rotor Housing Assy.
Upper Shroud Assy. (Cont.)
Upper Shroud Assy.
0000001
603/38191
CR 20
CR 20 R
S 620
S 200
CCR Powerlite
Vac/Blower
Lawnmower
Robin
Terms and Conditions
(C) by motoruf